【验货员百科】外箱跌落测试
TESTCOO/2021-10-22
ISTA-1A / 2A –外箱跌落测试
外箱跌落测试,可以参考两个标准,国际安全运输协会(ISTA) 1A和2A。通常大多数的客户使用ISTA 1A, ISTA1A和2A的跌落过程是相同的,但是他们的跌落高度是不同的。
跌落高度
跌落过程
-
首先,确保测试样品是好的样品(包括外观和功能)。
-
再重新包装到原先的状态,包括任何尼龙打包带。
-
然后,选择合适的地面。地面应平坦,刚性地基如钢铁、混凝土等。
-
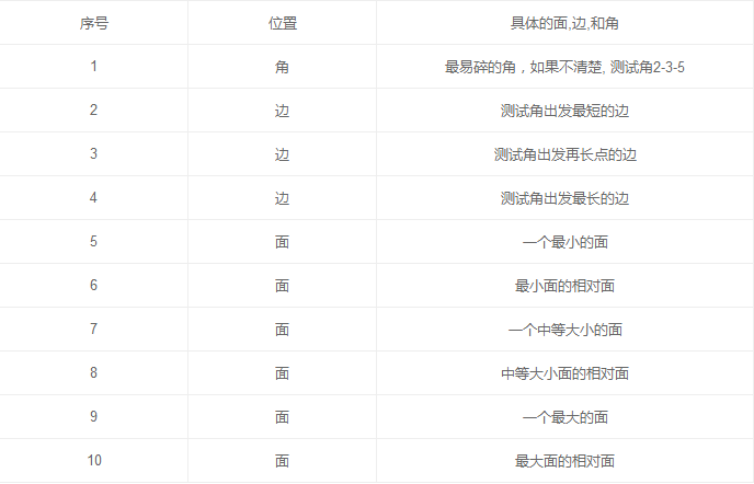
最后按照下面的顺序进行跌落测试;
判断是否合格
在完成外箱跌落测试后检查产品及其包装是否有损伤。













